loading

分享到:

ZX-SH900C-1

5 0 评价
  • ZX-SH900C-1

  • Lomosen

  • 300*430mm

  • 80mm

  • 500/600/900/1200mm

状态:
数量:

功能特性

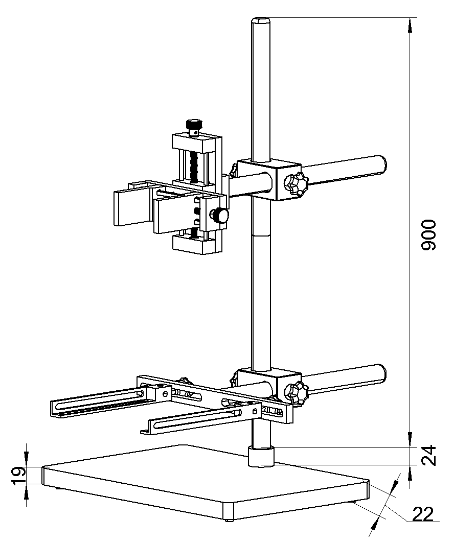
  • ZX-SH900C-1 是一款面向机器视觉与光学实验应用的升级款铸铝底座实验支架,具有900mm的支柱可调整高度,在结构稳定性与调节灵活性方面进行了全面优化。支架采用高强度材料与稳固结构设计,可为工业相机、镜头及各类光学附件提供可靠支撑,有效提升实验与调试过程中的成像稳定性。


外形尺寸ZX-SH900C-1


型号 型号 ZX-SH900C-1
名称 实验支架
物理规格 底板规格(mm) 300*430
微调行程 80mm
相机夹持装置 单手操作
立柱规格(mm) 500/600/900/1200


订阅我们的新闻
促销、新产品和销售,直接发送至您的收件箱

快速链接

产品分类

联系方式

邮箱: anna@zx-vision.com
固定电话:0755-86967765
传真:0755-86541875
手机:13316429834
微信:13316429834
版权所有 © 2026 深圳市智享视觉科技有限公司 |  网站地图 | 隐私政策